Introducció i aplicació del producte
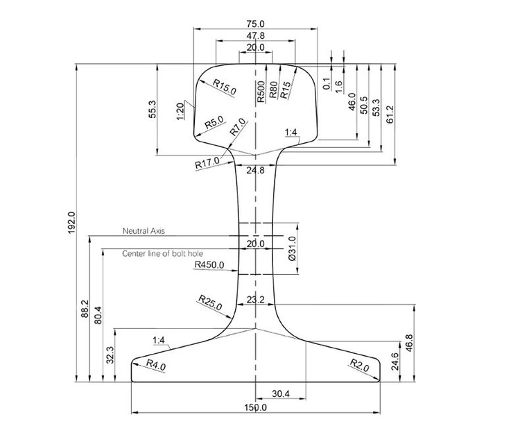
Segons el estàndard actual GB/T 2585-2017 "Rails enrotllats en calent per a ferrocarrils", l'alçada de 75kg/m GB de barana pesada és de 192mm, l'amplada inferior és de 150 mm, l'amplada del cap és de 75 mm i el gruix de la cintura és de 20 mm.

Normalment s’utilitzen materials com U71MN, U75V i U78CRV. U78CRV s’utilitza sovint per a línies extremadament sobrecarregades. El contingut de carboni del material U75V és 0. 71% - 0. 8 0%, el contingut de manganès és 0. 75% - 1. 05%, i el contingut de vanadium és 0,04% - 0. 12%. La resistència a la tracció no és inferior a 980MPa, la força de rendiment no és inferior a 440MPa i l’allargament no és inferior al 9%.
La força, la duresa, la resistència a la corrosió i la resistència al desgast es milloren mitjançant l’ús de l’acer, el rodatge, el tractament tèrmic, el tractament superficial i altres tecnologies.

S'utilitza principalment en línies de tronc de ferrocarril nacionals, ferrocarrils pesats, etc. En els ferrocarrils pesats, a causa de la seva gran resistència i una bona resistència al desgast, pot satisfer els requisits de l'operació de trens de gran volum i d'alta densitat.
Especificacions del producte

Cap
P: Puc enviar mostres?
R: Per descomptat, podem enviar mostres a tot el món, les nostres mostres són gratuïtes, però els clients han de suportar la quota expressa.
P: Què és el port d’enviament?
R: Podeu triar altres ports segons sigui necessari.
P: Quant als preus del producte?
R: A causa dels canvis cíclics dels preus de la matèria primera, els preus en diferents períodes són diferents.
P: Puc visitar la vostra fàbrica?
R: Per descomptat, donem la benvinguda a clients de tot el món a visitar la nostra fàbrica.
Etiquetes populars: Línia pesada de 75 kg/m GB Rail pesat, línia de gran resistència a la Xina 75kg/m GB Fabricants de ferrocarril pesat, proveïdors, fàbrica





