Com funciona la barra d'ample de ferrocarril?
A barra d'ample de ferrocarrilfunciona connectant físicament dos rails per mantenir-los a una distància específica, evitant que s'estenin o s'inclinin sota la força dels trens. Aquestes barres es col·loquen normalment a la part inferior dels rails i són crucials per mantenir l'estabilitat de la via, especialment en punts febles com corbes, desviaments o zones amb llaços desgastats. Proporcionen estabilitat lateral, garantint que l'ample de la via es mantingui dins de la mesura correcta i segura per evitar el descarrilament

Com funciona la barra d'ample de ferrocarril?
- Connexió de carrils:Una barra de calibre és una barra d'acer que uneix els dos rails paral·lels a la part inferior.
- Manté el calibre:Evita que els rails s'estenin cap a l'exterior a causa de les forces laterals que exerceix un tren. Això es fa sovint utilitzant una força de tracció a la vareta, que estira els rails un cap a l'altre.
- Augmenta l'estabilitat:En mantenir els rails al seu lloc, augmenta significativament l'estabilitat lateral de la via, la qual cosa fa que sigui menys probable que s'inclini o s'inclini.
- Reforça els punts febles:Les barres de mesura s'utilitzen amb més freqüència a les zones crítiques on la via és més susceptible al moviment, com ara corbes pronunciades, interruptors o trams amb lligams de baixa-qualitat.

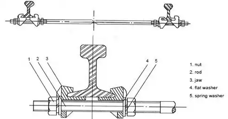
Varelles de via de ferrocarrilEspecificacions
- Aplicació: carril de 43, 50, 60, 75 kg/m
- Temperatura de treball: -40 ~ 60 graus centígrads
- Estàndard: TB/T1780-86
- Longituds: 600 mm, 762 mm, 900 mm, 1435 mm, etc.

| No. | Part | Quantitat | Especificació | Material |
| 1 | nou | 4 | M30 M36 | 3# |
| 2 | vareta | 1 | M30 M36 | 3# |
| 3 | mandíbules de ferro | 4 | I tipus II | KTH350-10 |
| 4 | rentadora plana | 4 | M30 M36 | 3# |
| 5 | rentadora de molla | 4 | M30 M36 | 65 Mn |
Segons els diferents tipus de via, els tirants d'ample es poden dividir en: tipus 8kg/m, tipus 12kg/m, tipus 15kg/m, tipus 18kg/m, tipus 22kg/m, tipus 24kg/m, tipus 30kg/m, tipus 38kg/m, tipus 43kg/m, tipus rail 50kg/m, utilitzat per a tipus rail 50kg/m.
Segons els diferents números de desviació, els tirants de calibre es poden dividir en: No{0}} tipus, No. 3 tipus, No. 4 tipus, No. 5 tipus, No. 6 tipus, No. 7 tipus, No. 8 tipus, No.9, No. 12 tipus utilitzat per als desviaments.
Si teniu requisits especials per a dimensions o materials de major resistència, si us plaucontacta amb nosaltresper a una producció especial personalitzada.

